- Редът за разглобяване на перфоратор Bosch 2-26
- Демонтаж на бързозатягащия патронник
- Как да премахнете превключвателя на режима
- Демонтаж на перкусионния комплект
- Необичайна неизправност на перфоратор Bosch
- Перфораторът на Bosch пробива, но не дълбае
- Демонтаж на електрическата част на перфоратор Bosch 2-26
Принципът на работа на перфоратора Bosch 2-26 не се различава от перфораторите на известни марки.
Въртящият се ротор предава въртящ момент към междинния вал на механичния възел на поансона, като едновременно с това предава постъпателното движение през търкалящия лагер към ударния механизъм на поансона и ударния импулс. Въртящият момент се предава на работния инструмент с транслационен ударен импулс. Този принцип е приложен във всички перфоратори.
Но различните компании, произвеждащи перфоратори, имат свои собствени дизайнерски характеристики.
Перфораторите на Bosch се считат за най-добрите в своя сегмент от електрически инструменти. Но нищо не е вечно.
Ако вашият перфоратор Bosch 2-20, 2-24, 2-26 е спрял да работи, можете да го възстановите сами. Трябва да имате основни шлосерски умения и известни познания по електротехника.
И още един важен детайл, дизайнът на перфораторите на Bosch е толкова прост, че не създава трудности по време на ремонт.
Когато ремонтирате електрически инструменти, включително ремонт на перфоратори Bosch, стриктно спазвайте предпазните мерки при работа с електрически устройства.
За да улесните ремонта на перфоратора на Bosch, неговото разглобяване и сглобяване, проучете монтажната схема на инструмента:

Всяко разглобяване на перфоратора bosch 2-26 започва след проверка, пробно стартиране и установяване на причините за неизправността на устройството.
Видео за разглобяване на ударна бормашина Bosch 2-26
Редът за разглобяване на перфоратор Bosch 2-26
Тъй като Bosch пробива поръчка за разглобяване 2-20; 2-24; 2-26 е почти идентичен, помислете за реда на разглобяване, като използвате ударната бормашина Bosch 2-26 като пример.
Демонтажът на перфоратор Bosch GBH 2-26 dre започва с демонтажа на бързозатягащия патронник.
Демонтаж на бързозатягащия патронник
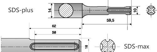
В перфораторите на Bosch най-често се използват два вида патрони: патрони SDS-plus и патрони SDS-max. Разликата между тях се състои в принципа на затягане на опашката на работния орган.
Устройството за затягане на бормашина Bosch се различава по конструкцията на опашката на инструмента в зависимост от модела SDS-plus или SDS-max. В допълнение към изброените видове патрони има SDS-top, SDS-quick патрони.

Процедурата за разглобяване на перфоратора Bosch 2-26 е проста:
- отстранете гумения накрайник poz.34;
- отстранете задържащия пръстен poz.87;
- отстранете стоманената шайба poz.833;
- отстранете коничната пружина poz.833;
- внимателно, за да не загубите, с помощта на магнит извадете топките от цевта poz.89.

Внимателно проверете всички части на касетата.

Патронниците SDS-plus са специално разработени за инструменти за пробиване. Диаметърът на стеблото на инструмента е 10 mm, дължината на работния инструмент е около 110…1000 mm. Диаметърът на свредлата е между 4 и 26 мм.
Как да премахнете превключвателя на режима
Поставяйки шилото настрани, извадете превключвателя за режим poz.832.
Първо завъртете превключвателя в положение "Пробиване", натиснете докрай края на бутона на превключвателя (той е червен) с отвертка и завъртете превключвателя обратно на часовниковата стрелка на 70º.
Докато разклащате дръжката на превключвателя, издърпайте дръжката на превключвателя от корпуса.
Демонтаж на перкусионния комплект
Поставяйки ударната бормашина Bosch 2-26 вертикално върху дръжката, развийте четирите винта поз.90, които държат капака на кутията за механичен монтаж.
Натиснете края на вала на ударния механизъм и свалете капака. Капакът е черен пластмасов.
Сега трябва да премахнете цевта poz.821 и междинния вал poz.826. Не се привързват към нищо.
След това с помощта на отвертка отстранете опората poz.48 от лагера poz.830. Между другото, по прост начин, това се нарича "пиянско търкаляне". Постоянно отстранени: поз.26 маншон и "пиян лагер".

Демонтаж на цевния възел на ударния механизъм
- демонтажът на цевния възел на перфоратора на Bosch започва от страната на кухината, премахвайки цилиндъра поз.26 с барабаниста поз.27;
- от кухината е необходимо да се получи възелът на ударника;
- от страната на вала на патронника свалете задържащия пръстен поз.85, стоманения пръстен поз.38 и още един заключващ пръстен поз.85;
- свалете цилиндричното зъбно колело poz.22.

Демонтаж на цилиндър
Вътре в цилиндъра е поставен барабанист poz.27, от който трябва да се отстрани гуменият пръстен poz.73. При всяко разглобяване гумените части трябва да се сменят.
В противоположния край на цилиндъра са поставени шарнир поз.29 и две плоски шайби поз.41.
Демонтаж на междинен вал
Междинният вал се разглобява чрез отстраняване на вала poz.24 и издърпването му от корпуса poz.77 "пиян лагер".
Лагерите се отстраняват с тегличи или ръчно с инструмент.
Необичайна неизправност на перфоратор Bosch
Перфораторите Bosch са много надеждни. Но има неизправности, които практически не се срещат на практика. По-долу е един от тях.
Перфораторът на Bosch пробива, но не дълбае
Ако перфораторът е спрял да удря, но все още позволява пробиване, най-вероятната причина може да е разрушаването на „пияния лагер“. Тази неизправност не е често срещана и не е лесно да се открие.
За да го ремонтирате, не е необходимо да ходите в сервиз. Такава неизправност ще бъде отстранена от всеки, който е повече или по-малко запознат с механиката.

Първо трябва да разглобите перфоратора на Bosch на междинния вал. Редът за разглобяване е даден по-горе.
След като свалите междинния вал, ще стигнете до "пияния лагер". Разрушаването на лагера се показва от счупена клетка, разпръснати топки, парчета от клетката.
Изваждате лагера, премахвате мръсотията, всички части на разрушения механизъм.
Купувате нов "пиян лагер" и след като смажете всички части с нова грес, подменяте и сглобявате в обратния ред на стъпките за разглобяване.
Демонтаж на електрическата част на перфоратор Bosch 2-26
Демонтажът на ударна бормашина Bosch 2-26, нейната електрическа част, започва с премахване на задния капак на дръжката на бормашината чрез развиване на три винта.
Следващата стъпка е да премахнете превключвателя за заден ход.
Завъртете го в неутрална позиция и го повдигнете към вас. Инверторът е изваден.
За да премахнете капака на статора, е необходимо, като държите механичния възел в дясната ръка, а в левия корпус на статора, плъзнете ги в различни посоки, разклащайки се.
Капакът на статора ще се свали.

За да отделите ротора от механичния възел, просто плъзнете тези части в различни посоки. Роторът е фиксиран към механичния възел чрез малко спирално зъбно колело, поставено в контакт с голямото спирално зъбно колело на механичния възел.
Роторът е освободен и можете внимателно да проверите състоянието на комутатора, лагерите.

За да премахнете статора, просто отстранете защитния пластмасов капак и ударете с дървен блок или чук по края на корпуса, в който е вкаран статорът. Преди това не забравяйте да развиете двата винта, фиксиращи статора към корпуса.
Статорът се отстранява, роторът се отстранява, можете да преминете към тяхната проверка и откриване на дефекти на всички части, които съставляват електрическата част на перфоратор Bosch.
Когато проверявате разглобен перфоратор Bosch 2-26, обърнете специално внимание на състоянието на въглеродните четки, плочата на държачите на четки и надеждността на тяхното закрепване, целостта на контактите на инвертора и състоянието на проводника при входа на въртящия се чук.
Дължината на четките не трябва да бъде по-малка от 8 мм. На държачите на четки не трябва да има следи от искри и въглероден прах от четките, на контактите на инвертора на бормашината Bosch 2-26 не трябва да има изгаряния или повреда на контактите.

Това завършва разглобяването.
Пожелавам ти успех!











